1 月 10 日晚,君实生物宣布与 Coherus 扩大肿瘤免疫领域合作,Coherus 已启动行使 JS006(君实生物自主研发的抗 TIGIT 单抗)在美国和加拿大的许可选择权的程序。Coherus 将向君实生物支付 3500 万美元首付款,最高达 2.55 亿美元的开发、申报和销售里程碑付款,以及产品销售净额 18% 的销售分成。预计交易将在适用法律要求的政府手续完毕后完成。
JS006 是君实生物自主研发的特异性抗人 TIGIT 的重组人源化 IgG4κ 单克隆抗体。包括备用候选物在内,JS006 项目包括多个具有沉默和活性 Fc 功能的分子。临床前研究结果表明,JS006 可特异性阻断 TIGIT-PVR 抑制通路。
TIGIT 在 T 细胞和 NK 细胞上表达,可与肿瘤细胞上高表达的 PVR 受体相互结合,介导免疫反应的抑制信号,从而直接抑制 T 细胞和 NK 细胞对肿瘤细胞的杀伤作用。大量临床前和临床研究表明,TIGIT 通路的激活可能是 PD-1 抑制剂耐药的关键潜在机制。TIGIT 和 PD-1/PD-L1 抑制剂联合治疗也显示出协同增强抗肿瘤反应的潜力,以克服 PD-1 抑制剂耐药性并扩大可从免疫治疗中获益的癌症患者人群。
目前,JS006 的临床试验申请已分别获得中国国家药品监督管理局(NMPA)和美国食品药品监督管理局(FDA)的批准。一项剂量递增和剂量拓展的临床研究(NCT05061628)正在进行中,旨在评估 JS006 单药及联合抗 PD-1 单抗药物特瑞普利单抗治疗晚期实体瘤患者的安全性、耐受性和药代动力学特性。君实生物与 Coherus 正计划在北美开展 JS006 与特瑞普利单抗联合治疗的后期临床试验。
TIGIT 领域始终交易活跃,2021 年末,百济神州也与 PD-1 合作伙伴诺华扩大了合作,诺华以潜在总额超过 28 亿美元的价格获得了百济的在研 TIGIT 抑制剂 ociperlimab 在美国、加拿大、墨西哥、欧盟成员国、英国、挪威、瑞士、冰岛、列支敦士登、俄罗斯和日本进行开发、生产和商业化的选择权。
此外,今日康方生物的 AK127 首次在国内申报临床,该药同样是一款 TIGIT 单抗。不过该药此前已经在国外启动 I 期临床。2021 年 10 月 22 日,康方生物宣布 AK127 联合 PD-1/CTLA-4 双抗 AK104 治疗晚期或转移性实体瘤的 I 期临床试验在澳大利亚完成首例患者给药。

来自:CDE 官网
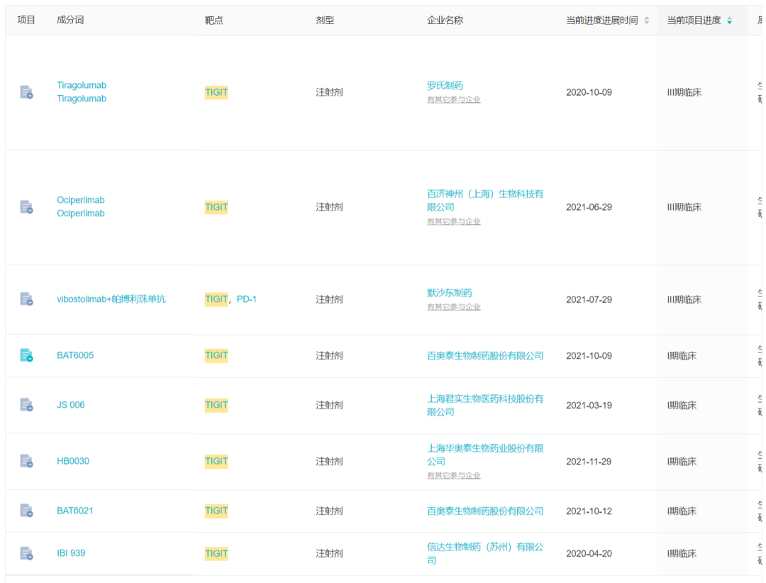
当前,国内已有 9 个 TIGIT 单抗项目进入到临床开发中。
国内启动临床的 TIGIT 项目

来自 Insight 数据库(http://db.dxy.cn/v5/home/)
免责声明:本文仅作消息分享,不代表 Insight 立场和观点,也不作治疗方案推荐和介绍。如有需求,请咨询和联系正规医疗机构。
编辑:加一
PR 稿对接:微信 insightxb
投稿:微信 insightxb;邮箱 insight@dxy.cn
点击卡片进入 Insight 小程序
药品申报、临床、上市、一致性评价…
随时随地查!
↓↓ 点击解锁更多新功能