
Apple Car 又有新进展。据报道,苹果将向其所研发的电动汽车中引入机器学习,以让汽车在关键情况下能够及时地做出自主驾驶决策。
机器学习属于 AI 技术领域,主要通过经验和数据,对计算机算法进行研究。Apple Car 中使用 AI 相关技术,其实早有预兆。据了解,在 2020 年年底,主管苹果 AI 和智能助手 Siri 研发的约翰·吉安南德里亚(John Giannandrea)被任命为 Apple Car 项目的负责人。
吉安南德里亚曾在谷歌工作,参与过 Google Assistant、Gmail 和搜索相关业务,于 2018 年正式加入苹果,并向苹果 CEO 蒂姆·库克(Tim Cook)汇报工作。
近日,一项新公布的专利体现了苹果使用机器学习技术的原因和方法。这一切都与汽车在自动行驶过程中必须做出非常快的反应有关。
图 | 苹果申请相关专利(来源:美国专利商标局)
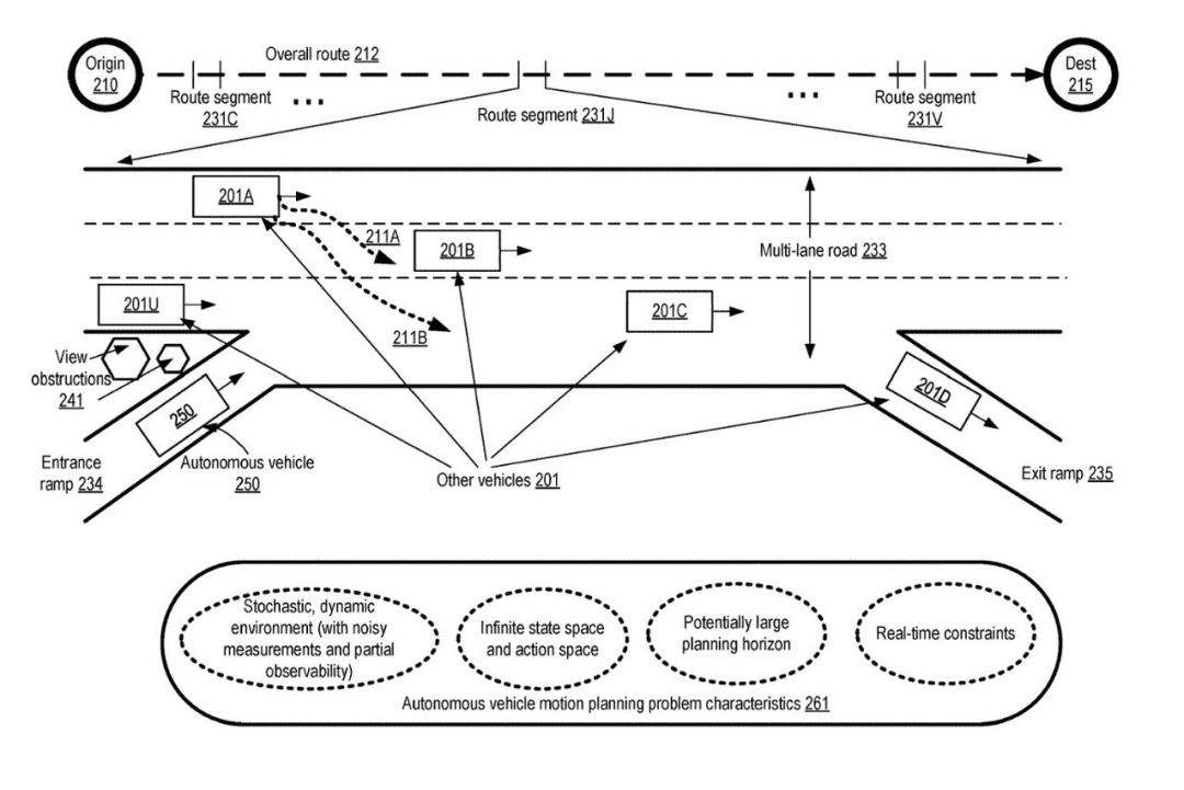
目前的自动驾驶,由于软硬件的局限性,对车辆外部环境方面的分析计算,还不足以让汽车独自做出及时的驾驶决策。
即便汽车的软硬件正在变得越来越强大,有着快速处理器和先进算法,但这仍远远不够。汽车的系统必须时刻确定周围环境的当前状态,以确定“一套可以采取的相应可行或拟议的行动”。若有关于变道或躲避等正确的决定没有尽快做出,可能就会造成致命事故。
而在一定程度上,机器学习可帮助汽车从众多可能的决策中找出最优的行动方案。
(来源:Pixabay)
据了解,苹果此次的专利申请说明超过 17000 个单词,描述了自动驾驶汽车做出决定的时间和距离的有关情况。
苹果介绍到,当在一条基本空无一人的直道上行驶时,车辆在几公里内可能都不会转弯,这时汽车要评估的行驶行为相对较少;但当车辆处于繁忙的十字路口时,汽车需要评估的行为数量则会极大增加。
苹果在专利说明中还谈到“自主决策的复杂性”。其指出,现实中的真实环境往往比任何测试场地都要复杂得多,道路上的其他汽车和行人的一些行为几乎不可预测。在数据不足的状况下,自动驾驶系统很难做出正确、及时的决定。
而在车辆上使用机器学习模型,则可获得“行为的相应价值指标”,该指标可用于选择要实施的动作。
最后再说说关于 Apple Car 生产的情况。Apple Car 可以说一直处在“谣传”之中,苹果目前还没有正式宣布其造车项目。一开始人们推测苹果只是在研发自动驾驶系统,不会亲自造车,但随后越来越多的证据表明,苹果正在考虑发布一款自有品牌汽车。
Apple Car 项目已经酝酿多年,下面了解下近些年关于苹果造车的一些报道。
2014 年,苹果开始致力于开发电动汽车,并将该计划命名为 Project Titan,有超过 1000 名汽车专家和工程师在苹果总部附近一个秘密地点研发电动汽车。
2015 年,宝马、特斯拉的工程师相继加入苹果,同时,苹果也在招聘自动驾驶汽车算法相关的人才。
2016 年,苹果收购与 Apple Car 相关的新域名,并获得“汽车测试中心”建筑许可证。还有报道称,苹果在德国柏林拥有一个处在保密中的汽车实验室。
2017 年,报道称,苹果正与中国的宁德时代合作进行汽车电池研究;苹果还发布有关激光雷达(LiDAR)3D 对象识别的研究论文。
2018 年,苹果向美国加利福尼亚州车辆管理局上报自动驾驶汽车申请,并从特斯拉招聘数十名员工。库克也谈到,苹果正在研究自动驾驶系统,重点在于软件方面,
2019 年,库克曾说,未来的产品会让人“大吃一惊”。苹果在加利福尼亚州建造多个大型驾驶室,致力于改进电池技术。与此同时,苹果也已收购 AI 创业公司 Drive.ai。
2020 年,一项专利表明,苹果在研发特斯拉式感应电机。有报道称,苹果将与台积电合作开发 Apple Car 的处理器。
时间来到 2021 年,有关苹果造车的消息有了一些实质性进展。2021 年 1 月,苹果与现代汽车谈判,想让其帮助制造 Apple Car,不过,谈判后被搁置。2 月,有分析师说,Apple Car 可能会舍弃方向盘。3 月和 4 月,分别有报道称,富士康可能会组装 Apple Car、LG 与汽车零部件供应商麦格纳可能赢得 Apple Car 的合同。5 月和 7 月有消息称,Apple Car 的挡风玻璃可用于 AR 显示,苹果希望在美国制造汽车电池。11 月的报道则称,Apple Car 预计会在 2025 年之前发布。
最后,据了解,由于公司领导层和其他一些冲突等问题,苹果的汽车项目曾发生过多次变化,甚至曾一度搁置汽车项目,但如今 Apple Car 已走上正轨。
现在又有传言称,苹果正在开发一种“完全自主的自动驾驶汽车”,不需要用户干预即可行驶。这将比其他汽车制造商在自动驾驶方面都走得更远。
-End-

参考:
https://appleinsider.com/articles/22/02/08/apple-car-needs-machine-learning-to-make-driving-decisions-fast-enough
https://appleinsider.com/inside/Apple-Car
