前言
介绍了 AIGC 在活动业务中的应用案例,以及如何利用 Dify 平台快速验证 AI 与业务结合的想法,并通过活动组件 AI 助手的实现降低组件选择成本,最终实现业务升级。今日前端早读课文章由 @AlwinXie 分享,公号:三七互娱技术团队授权。
正文从这开始~~
本文主要分析 AIGC 在组件活动业务中的应用案例,探索 AI 在业务中到底能做什么。如何运用 Dify 快速验证 AI 与业务结合的想法,掌握业务 Agent 落地与实现的方法,加速业务升级。
AIGC 在活动业务中的应用案例分析
在案例分析前,先说一下组件活动的业务背景。经过长期的迭代,我们的组件活动系统已较为成熟,可以允许产品运营人员,在后台快捷自助制作出功能完善,安全可靠,具备复杂前后端功能交互的专题活动落地页。从活动策划设计到落地推广均无需技术介入,下面简单说一下制作一个组件活动的 5 个步骤:1. 创建活动 → 2. 选择组件 → 3. 细化前端元素 → 4. 完善后端功能规则 → 5. 生成活动落地页
1. 创建活动,填写基本信息
包括活动名称、类型、时间、规则、发布游戏等基本信息。

2. 根据需求选择组件,构建活动内容
从左侧的组件库中拖取合适组件到右侧画布,组合出符合需求的组件活动。每一个组件是一个具备完整前后端功能的业务组件(也有纯前端元素的前端组件和纯后端功能的后端组件),而非开发人员使用的代码” 组件”。


3. 细化前端元素
对需要调整的组件进行编辑,替换所需的前端元素,例如图片素材,文案,位置色彩配置等

4. 完善后端功能规则
除了前端静态元素外,还具备该组件对应的后端功能配置。根据不同的组件后台将程序不同的功能配置项。配置好相应的规则后即具备了相应的后端功能。

5. 生成活动落地页
到此即完成了一个组件活动的制作落地。具备完整前后端功能的活动落地页:



而在制作组件活动的第二步中,我们发现了痛点。随着系统的迭代更新,组件积累的数量和种类越来越多。选择组件也成了一个难题,在 6 种大分类和 40 种小分类共 200 + 数量的组件库中,选出符合需求,合适自己的组件,确实不容易。因此我有了一个想法:能否由 AI,根据我们的需求,为我们推荐出合适的活动组件?
活动组件 AI 助手
为了验证这个想法,就有了活动组件 AI 助手:目的是根据活动专员需求,推荐合适的活动组件,提供贴合需求的参考方案,降低组件选择成本。


在组件画布的右侧新增了一个入口按钮,点击后在右侧弹出活动组件 AI 助手的交互界面。可以在这个对话框中使用自然语言给 AI 提出我们的活动需求,它将为我们推荐庞大组件库中最适合的组件,并给出了推荐理由。点击 “使用推荐” 即可以一键把 AI 推荐的组件装载到画布中,降低组件选择的成本。
业务 Agent 智能体的快速落地与实现
想必大家多多少少会有以下这些情况:想快速验证 AIGC 是否能应用于业务的想法;想快速切换多个大模型进行效果调试;对 Python 代码不熟练,又想把时间用在创新和业务需求落地上。Dify 就能很好地满足这些需求。活动组件 AI 助手就是运用 Dify 实现快速落地的。通过以下 5 步来快速验证你的 AI 想法吧:
业务数据准备
为了能让大模型具备垂直领域的知识,我们必须把自己的业务数据准备好。以活动组件 AI 助手为例,我通过识图 OCR + 业务数据 + LLM 准备好原始业务知识数据。
第一步,因为我们的原数据信息较少,这里采用大模型的识图接口,把组件库中每个组件的封面图内容识别出来,丰富组件的信息:

第二步,把图片信息加上组件的名称、分类、标签等数据交给大模型,让它为我们的组件生成一份 markdown 格式的描述信息。

第三步,循环所有组件,批量构建组件描述信息,最终得到结构化的业务数据集:
数据集特点:以 JSON 的格式存储;包含了组件标识、组件类型等关键业务数据;

嵌入(Embedding)得到业务知识库
运用 Dify 平台的知识库功能,对我们原始数据文本进行分段和清洗,最终 Embedding 为知识库:

简单做下召回测试,验证嵌入效果:
把活动专员的需求构造成与知识库相似的 json 格式,把组件类型放到 widget_type 中,需求描述放到 widget_desc 字段中,最终匹配出类型同为 "H5 功能组件" 且包含 “抽奖模块” 的知识段落:

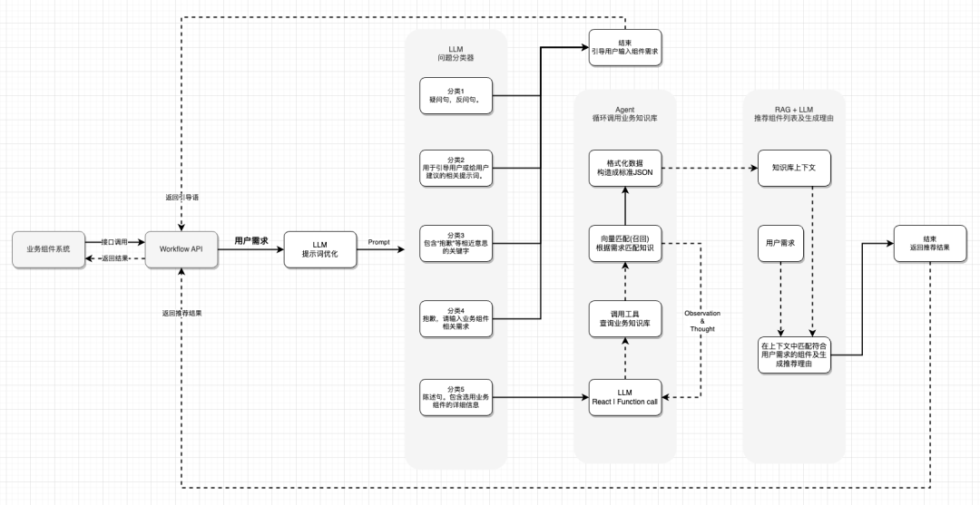
Dify 工作流 - 实现 RAG & Agent
Prompt -> LLM 润色 Prompt -> Agent -> 知识库 -> 业务知识 + Prompt -> LLM -> 业务数据结构
按照以上的流程配置得到以下的工作流:
实现了活动专员输入 prompt → 大模型优化 prompt,贴合知识库的形式 → 再交给 Agent 去循环匹配知识库,找到最贴合的组件列表 → 最终再过一遍大模型,根据活动专员的需求和上下文中的业务知识库内容,为我们推荐出合适的组件列表及推荐理由。

由于业务的特殊性,我们需要在一个请求中进行多次的知识库匹配,才能做到最好的召回效果,因此这里采用 Agent 来完成这个循环查询知识库的工作:
在 Dify 平台中可以很方便地实现一个 Agent:描述好 Agent 的角色和职责等,并把对应的工具配置好。

这里的工具 widget_search 实际上就是一个查询知识库的工作流,我们把它制作成一个自定义工具,供这个 Agent 使用:
把查询知识库的能力做成工具。允许 Agent 逐条提示词查询知识库,提升召回效果。

Dify 工作流 – 运行 & 追踪
在 Dify 工作流中,有一个跟踪的功能特别好用,可以看到整个流程每一步的详细情况,包括执行耗时,消耗的 token 数,以及输入的 prompt 等。可以清晰的看到每一步的效果,方便调试和优化。

RESTful API 调用 - 把 AI 的能力接入业务系统
最后,根据 Dify 提供的 RESTful API 接口,把我们工作流的能力接入到业务系统,就完成了整个想法的落地:

整体流程图:

企业级 AI 应用的选型对比

Dify 等低代码平台更适合要快速落地,对性能和成本要求不高的业务场景,可以利用它来快速验证我们的想法。而当需求定制化程度较高,或者对性能成本控制 (token 消耗) 有要求的场景则建议采用开发框架如 LangChain 来进行,两者也可以结合使用。
【第3378期】AIGCDesign 开放式跨端 AI 组件解决方案
总结
本文分析了 AIGC 在组件活动业务中的应用案例,并探讨了 AI 在业务中的潜力。通过使用 Dify 平台,可以快速验证 AI 与业务结合的想法。
在组件活动业务的应用案例分析中,展示了活动组件 AI 助手的功能和使用方法。这个助手通过快速分析活动专员需求,提供最佳的组件选择建议,降低了组件选择成本。
在落地业务 Agent 的过程中,使用 Dify 平台共五个步骤完成,包括业务数据准备、嵌入得到业务知识库、实现 RAG 和 Agent、运行和追踪工作流,以及通过 RESTful API 接入业务系统。
最后,对比了 Dify 等低代码平台和 LangChain 等开发框架的特点和适用场景,指出它们在企业级 AI 应用中的优劣和适用性。
关于本文
作者:@AlwinXie
原文:https://mp.weixin.qq.com/s/MzraLxSeS9yKaxRPjownPg

这期前端早读课
对你有帮助,帮” 赞 “一下,
期待下一期,帮” 在看” 一下 。